Skleněný panel s haptickou odezvou by již brzy mohl nahradit současné klávesnice v MacBoocích. Apple už podal patřičnou patentovou žádost.
Může to znít skoro jako ze sci-fi, ale v nových MacBoocích se můžeme dočkat zcela nového druhu klávesnice. Někteří podobnou inovaci předpovídali už při odhalení Touch Baru – skleněného dotykového panelu místo řady fyzických funkčních kláves.
Externí klávesnice s Touch Barem se ukazuje na patentové přihlášce Applu
Inženýři v Applu zřejmě ve své vizi nezahálejí. U amerického patentového úřadu se objevila nová žádost. Ta popisuje různé typy skleněných panelů, které imitují chování klávesnice pomocí haptické odezvy. Cupertino navíc s tímto typem technologie neustále experimentuje.
Mezi první vlaštovky můžeme například počítat skleněné trackpady, které pouze imitují stisk pomocí vibračního motorku. Další pak tlačítko Home s haptickou odezvou, jenž se poprvé objevilo u iPhone 7. Nyní můžeme vidět další generaci například u čtvrté série chytrých hodinek Apple Watch a jejich digitální korunky.
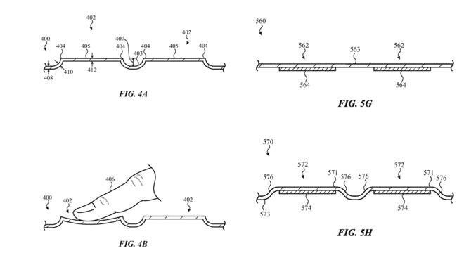
Nová patentová žádost popisuje skleněnou plochu, která poskytuje fyzickou odezvu po stlačení v určitých místech. Funkce by se měla chovat stejně jako u vyjmenovaných trackpadů nebo tlačítka Domů. Nejde tedy o pouhou skleněnou plochu, jako máme například u iPadů a jejich virtuální – softwarové klávesnice.
Apple navíc ve svém patentu odlišuje několik úrovní stisku dle různých verzí konceptu. Nejde tedy nutně pouze o skleněnou plochu, ale také členěný povrch pomocí rýh anebo výstupků. Při vícevrstvém provedení se pak klávesa sama vymáčkne na povrch.
Skleněný panel jako reparát za motýlkovou klávesnici
Pod skleněným panelem se pak nachází poslední vrstva, která určuje rozložení kláves. To by Applu umožnilo vyrábět regionální varianty s patřičným rozmístěním a popisky.
Samozřejmě, nová klávesnice by umožnila výrobu opět o něco tenčích MacBooků. Zároveň by měla vyřešit neduh současných klávesnic s motýlkovým mechanismem. Ty se i ve své třetí generaci, uvedené v MacBoocích Pro s Touch Barem 2018 stále potýkají s problémy.
V redakci jeden kus máme a i přes dodatečnou membránu pod klávesami, přestal fungovat mezerník. Přitom je počítač udržován v čistém prostředí. Bohužel Apple podstoupil daň při nekonečné honbě za tenkostí a současná generace přenosných počítačů to odnesla nejvíce. Třeba vše vyřeší nová generace počítačů.
Zdroj: MacRumors













Současná klávesnice není nic moc, sebemenčí smítko a už se musí čistit.