Patent, který se objevil minulý týden na příslušném úřadu, popisuje technologii, která dokáže přizpůsobit akustiku reproduktoru v souvislosti na místě použití.
Americký úřad pro patenty a ochranné známky minulý týden zveřejnil patentovou přihlášku společnosti Apple, která zřejmě souvisí s novým reproduktorem HomePod. Ten byl uveden na začátku měsíce června v rámci Apple Keynote na konferenci WWDC. Vynález se týká způsobu optimalizace výstupu zvuku z reproduktoru pomocí mikrofonů, digitálního zpracování signálu (DSP) a pokročilých výpočetních algoritmů.
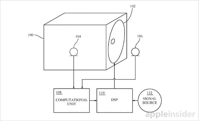
Patent ukazuje umístění reproduktoru v místnosti
V patentové přihlášce uvádí poznámku o důležitosti umístění reproduktoru v dané místnosti. To může mít velký vliv na přednes zvuku. Například, reproduktor v rohu místnosti může hrát více basově, protože nízké frekvence se odrážejí od stěn. Pro zlepšení zvukového zážitku a odstranění zkreslení zvuku výrobci už nějaký čas nabízejí řešení pro optimalizaci zvuku.
Když si pořídíte například AV receiver, často k němu dostanete už v balení speciální mikrofon, který změří akustický výkon připojených reproduktorů. Umístíte jej na místo, kde budete sedět a podle něj se nastaví výkon jednotlivých reproduktorů tak, abyste měli z reprodukce co nejlepší pocit. Jiné systémy zase obsahují už zabudované mikrofony pro zjištění výstupu zvuku. To je případ nového reproduktoru HomePod.
V útrobách novinky se data sesbíraná z mikrofonů přivedou do procesoru a DSP (digitálního signálového procesoru), který odfiltruje a vyrovná zvukové signály a pak se pošlou do jednotlivých výškových reproduktorů a jednoho subwooferu.
HomePod je schopný počítat v reálném čase
Největší výhodou řešení, které je použité v HomePodu, je výpočet všech těchto dat v reálném čase. To znamená, že HomePod bude schopný dynamicky reagovat na změnu prostředí. Takže když například postavíte před reproduktor nějaký předmět, ihned si spočítá, jak má upravit charakteristiku zvuku, aby nabídl co nejlepší přednes.
Procesor Apple A8, šest mikrofonů, sedm výškových reproduktorů a čtyřpalcový subwoofer. To je hlavní výbava HomePodu. Pokud dokoupíte k jednomu druhý, automaticky se spolu domluví a dokáží rovnoměrně vyplnit zvuk v místnosti.
Zdroj: Appleinsider.com














